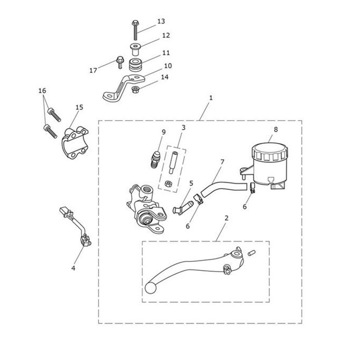
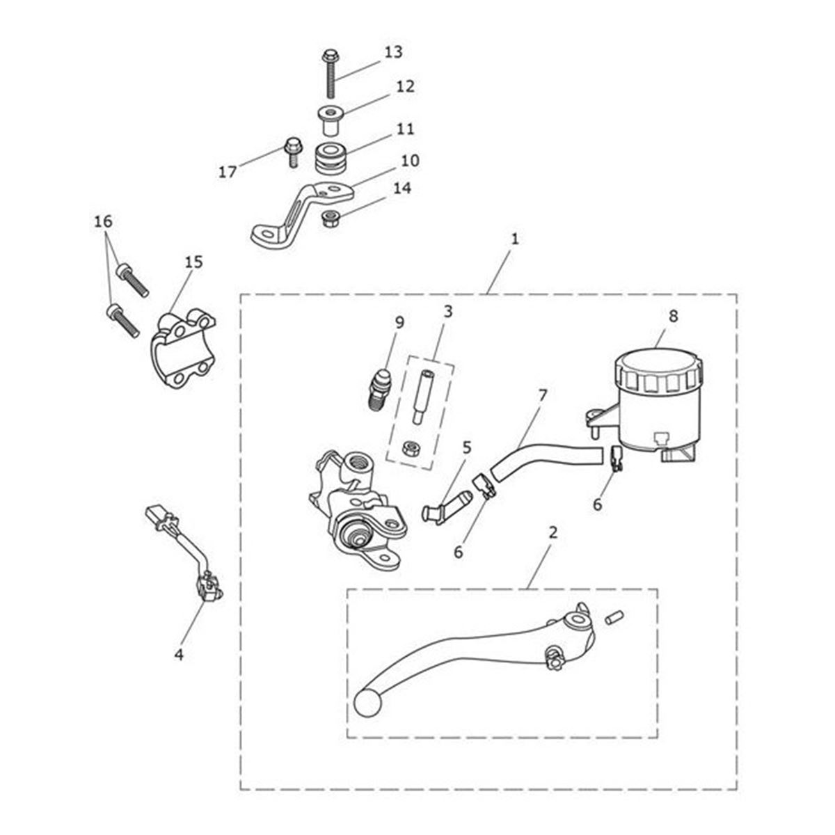
Triumph Bremsanlage

View as
1583 Artikel
Anzeige pro Seite
EUR 78,64
Artikelnummer: T2020946
EUR 42,90
Artikelnummer: T2020517
EUR 826,50
Artikelnummer: T2020536
EUR 85,97
Artikelnummer: T2020707
EUR 35,83
Artikelnummer: T2020806
EUR 163,31
Artikelnummer: T2020879
EUR 2.265,02
Artikelnummer: T2020885
EUR 115,84
Artikelnummer: T2020903
EUR 118,54
Artikelnummer: T2020912
EUR 189,38
Artikelnummer: T2020282
EUR 146,92
Artikelnummer: T2020346
EUR 203,16
Artikelnummer: T2020380
EUR 50,84
Artikelnummer: T2020715
EUR 12,14
Artikelnummer: T2101294
EUR 1.833,97
Artikelnummer: T2022168
EUR 60,00
Artikelnummer: T2022176
EUR 131,17
Artikelnummer: T2022253
EUR 218,63
Artikelnummer: T2022443
EUR 1.896,78
Artikelnummer: T2029325
EUR 23,71
Artikelnummer: T2041092
EUR 57,96
Artikelnummer: T2022522
EUR 80,34
Artikelnummer: T2021809
EUR 60,00
Artikelnummer: T2021517
EUR 9,68
Artikelnummer: T2020609